PPH G41F-10S Tyypin A laipallinen kalvoventtiili DN15-300 1/2"-12" ANSI-standardi

Teollinen korkean lämpötilan pehmeästi tiivistetty manuaalinen PPH-kalvoventtiili vesihuoltoon, ANSI-standardi
Käyttökohde: Yleinen vesihuolto
Keskilämpötila: korkea, keskitaso
Virtalähde: Manuaalinen
Väliaine: Happo
Portin koko: DN15–DN300
Rakenne: Kalvo
Tuotteen nimi: PPH-kalvoventtiili
Liitäntä: Laipallinen pää
Sertifikaatti: ISO9001
Paineluokka: 1,0 Mpa (10 bar)
Venttiilin tyyppi: 1-tie
Tiivistys: EPDM F46
Toimitusaika: 7 päivää
Minimitilausmäärä: 1 kpl

Tuotteen rakenteelliset ominaisuudet
1. Tiivistekalvo on valmistettu F46:sta tai PFA:sta, jonka taivutuskestävyys on ≥120 000 sykliä ja korroosionkestävyys vastaa F4:ää.
2. Venttiili käyttää ruuvinostorakennetta, jolla on alhainen vääntömomentti ja erinomainen vakaus.

Sovelluksen lämpötilarajoitusten luettelo

Materiaali Keskilämpötila℃ Materiaali Keskilämpötila℃
PVC-C -20 ℃ ~ 95 ℃ PVC-U -5 ℃ ~ 45 ℃
FRPP -20 ℃ ~ 120 ℃ PPH -20 ℃ ~ 110 ℃
PVDF 40 ℃ ~ 150 ℃
Osa Materiaalitaulukko
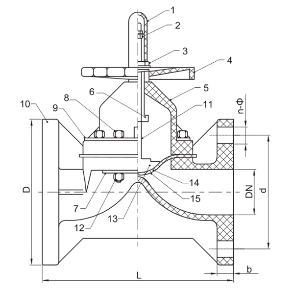
Ei Nimi Materiaali Määrä
1 Cover Limit AS 1
2 Ruuvi terästä 1
3 Kiinnitysmutteri 65 milj 1
4 Pyörä FRPP,FRPP,FRPP,PPH,FRPP 1
5 Konepelti PVC-C, PVC-U, PVDF, PVDF, FRPP 1
6 Pähkinä Kupari 1
7 Platen terästä
8 Ruuvi terästä
9 Platen terästä
10 Runko Stell
11 Varsi PVC-C, PVC-U, PVDF, PVDF, FRPP 1
12 Pähkinä Cap PVC-C, PVC-U, PVDF, PPH, FRPP 1
13 Disc PVDF, rauta 1
14 Flim EPDM 1
15 Kalvo F46/PFA/PTFE 1

Mittasuhteiden luettelo

Erittely d
(mm)
D
(mm)
L
(mm)
b
(mm)
n-Ф
(mm)
1/2" (15) 60 95 125 14 4-Φ16
3/4" (20) 70 115 135 18 4-Φ16
1" (25) 79 115 145 18 4-Φ16
1¼" (32) 89 135 160 18 4-Φ18
1½" (40) 98 145 180 20 4-Φ19
2" (50) 121 160 210 22 4-Φ19
2½" (65) 140 180 250 24 4-Φ19
3" (80) 152 195 300 24 8-Φ19
4" (100) 191 229 350 26 8-Φ19
5" (125) 216 250 400 30 8-Φ22
6" (150) 241 280 455 30 8-Φ23
8" (200) 299 343 570 40 8-Φ23
10" (250) 362 406 680 40 12-Φ23

Viesti Palaute
Tietoja meistä
Kaixin Pipeline Technologies Co., Ltd.
Vuonna 1999 perustettu Kaixin Pipeline Technologies Co., Ltd. on korkean teknologian yritys, joka yhdistää T&K:n, valmistuksen, myynnin ja palvelun. Yrityksellä on useita arvostettuja sertifiointeja, mukaan lukien National High-Tech Enterprise, "Little Giant" Specialized and Sophisticated SME, National Single Product Champion (viljely), Provincial Technology-based SME, Ningbo Specialized and Sophisticated SME, Ningbo Single Product Champion (viljely), Ningbo District, Green-Lepe & Valctory Technology, Fair & Valctory Ningbo neljän tähden Management Innovation Enterprise ja Enterprise Data Management Capability kypsyysaste 2.
Olemme erikoistuneet kehittämään, valmistamaan ja toimittamaan ei-metallisia korroosionkestäviä tuotteita kemiallisiin sovelluksiin, mukaan lukien muoviventtiilit, putket, putkiliittimet ja korroosionkestävät pumput. Tuotevalikoimamme kattaa PVC-C:n, PVC-U:n, PVDF:n, PPH:n ja FRPP:n kaltaiset materiaalit kattavalla valikoimalla tyyppejä ja eritelmiä. Erityisesti läppäventtiiliemme voivat saavuttaa halkaisijaltaan DN1000, kun taas putket ja liittimet ulottuvat DN800:aan, mikä korjaa markkinoiden aukkoja ja säilyttää kilpailuetumme alalla.
"Teknologiavetoinen, ajan tahdissa pysyminen" -periaatteen ohjaamana Kaixin osoittaa vuosittain lähes 10 miljoonaa RMB T&K-toimintaan. Varmistamme tuotteiden erinomaisen laadun standardoidun automatisoidun valmistuksen ja tiukan tuontiraaka-aineiden hankinnan avulla. Kansainvälisen kehitysstrategiamme mukaisesti seuraamme jatkuvasti globaalien markkinoiden kehitystä ja hyödynnämme digitaalisia kanavia tuodaksemme korkealaatuisia "Made in China" -tuotteita asiakkaille ympäri maailmaa.
Ningbo • Fenghuan T&K- ja tuotantotukikohta
Kaixin Ultra-Pure Pipe Technology (Ningbo) Co., Ltd. on investoinut yhteensä 200 miljoonaa RMB:tä, ja se on perustanut uuden materiaalilaboratorion yhteistyössä yliopistojen ja tutkimuslaitosten kanssa, rakentanut nykyaikaisen tuotantokannan ja asentanut 8 täysin automatisoitua tuotantolinjaa modifioiduille muoveille ja 8 polymeerimateriaaleille. Laitos on omistettu uusien modifioitujen muovien ja polymeerimateriaalien tutkimukselle ja kehitykselle, tuotantoon ja käyttöön. Kaixin on myös sitoutunut houkuttelemaan huippuosaajia eri tieteenaloilla, edistämään jatkuvasti tuoteinnovaatioita ja tuotemerkkien kehitystä tavoitteenaan tulla maailmanlaajuisesti tunnustettu johtaja polymeeriventtiilien, putkien ja liitosten T&K- ja valmistuksessa.
Kunniakirja
  • honor
  • honor
  • honor
  • honor
  • honor
  • honor
  • honor
  • honor
  • honor
Uutiset